一、概述:
1.1 LW9—72.5/T2500—31.5型高壓六氟化硫斷路器系戶外三極交流50Hz高壓電器設備,主要用于輸變電線路的保護,也可作聯絡斷路器使用。斷路器為三極組裝在一個框架上,不能進行單極操作。
1.2 LW9—72.5/T2500—31.5型高壓六氟化硫斷路器符合GB1984《高壓交流斷路器》國家標準的要求,并滿足IEC60056《高壓交流斷路器》國際電工委員會標準的要求。
二、使用環境條件:
2.1 環境溫度 -30℃~+40℃(-45℃~+40℃條件下開斷電流為25kA)
2.2 海拔高度不超過 1000m
2.3 自然風速不超過 35m/s
2.4 積冰厚度不超過 10mm
2.5 地震地面加速度不超過
a.水平加速度 0.4g
b.垂直加速度 0.2g
2.6 最大日溫差 25℃
三、性能特點:
3.1斷路器采用六氟化硫(SF6)氣體作為滅弧介質,六氟化硫氣體不但有良好的滅弧性能,而且電氣絕緣性能非常好,氣體在開斷時被壓氣筒壓縮后噴向電弧并將電弧熄滅,開斷的簡單原理如圖1。該斷路器具有結構簡單、開斷性能良好,并且操作平衡等許多優點。它還是一種理想的切合電容器組及電抗器組的開關。
3.2優越的開斷性能 斷路器能夠順利地開斷各種異常短路,例如反相狀態斷路器兩側兩極同時接地,近區故障以及包括斷路器端部故障在內的其它故障等。
3.3 操作噪音小 由于斷路器密封,與大氣隔絕,所以操作時沒有氣體噴出的噪音。
3.4結構簡單、尺寸緊湊 滅弧室采用單斷口,沒有其它閥系統,所以結構非常簡單、尺寸緊湊。
3.5檢修維護工作量小 由于結構簡單,并且斷路器的滅弧室觸頭在六氟化硫氣體中開斷時燒損量小,所以斷路器的維護工作量小,檢修周期比較長。
3.6安全可靠 純凈的六氟化硫氣體是無毒不可燃的,而且因為滅弧室密封性好,所以斷路器在使用上是安全可靠的。
四、技術參數:
序號
名 稱
單 位
數 據
1
額定電壓
kV
72.5
2
額定電流
A
2500
3
額定短路開斷電流
kA
31.5
4
額定短路關合電流(峰值)
kA
80
5
額定短時耐受電流
kA
31.5
6
額定短路持續時間
s
4
7
額定峰值耐受電流(峰值)
kA
80
8
1min工頻耐受電壓(有效值)(斷路器內充入20℃時,0.40MPaSF6氣體
干試
斷口間
kV
160+42
對 地
kV
160
濕試
斷口間
kV
160+42
對 地
kV
160
雷電沖擊耐受電壓(峰值)1.2/50μs(斷路器內充入20℃時,0.40MPaSF6氣體)
斷口間
kV
350+60
對 地
kV
350
9
零表壓5min工頻耐受電壓(有效值)
kV
84
10
近區故障開斷電流
kA
31.5×
11
額定失步開斷電流
kA
31.5×25%
12
首開極系數
1.5
13
分閘時間
S
≤0.03
14
開斷時間
S
≤0.06
15
合閘時間
S
≤0.15
序號
名 稱
單 位
數 據
16
分——合時間
S
≥0.3
17
合——分時間
S
0.06
18
斷路器每極斷口數
個
1
19
斷路器內六氟化硫氣體(20℃時)
額定壓力
MPa
0.50
報警壓力
MPa
0.40
閉鎖壓力
MPa
0.40
含水量不大于
PPM( )
150
年漏氣量不大于
1%
20
充入斷路器內六氟化硫氣體的重量
kg
3.5
21
斷路器總重
kg
1000
22
機械壽命
次
3000
23
斷路器接線端子靜拉力
水平縱向允許負荷
N
750
水平橫向允許負荷
N
500
垂直方向允許負荷
N
750
24
斷路器斷口及對地瓷套泄漏距離(斷口/對地)
防污型(Ⅲ級)
mm
2090/1815
重污型(Ⅳ級)
mm
2585/2250
25
彈簧機構分/合閘線圈
電 阻 值
Ω
50
額定電壓(DC)
V
110或220
額定電流(DC)
A
2.2
26
彈簧機構電動機
功 率
W
315
電 壓(AC/DC)
V
220
27
加熱器
功 率
W
100
電 壓(AC)
V
220
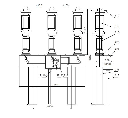
五、安裝尺寸

推薦資訊 / Recommended News
- 2022-08-24 持久淺談真空斷路器的理倫
- 2022-08-24 持久淺淡真空斷路器
- 2022-08-24 智能真空斷路器的技術問題解答
- 2022-08-24 ZW32真空斷路器核心作用
- 2022-08-24 真空斷路器比較難處理的問題
- 2022-08-24 高壓真空斷路器的維護安裝
- 2022-07-23 真空斷路器壽命是哪些因素影響的
- 2022-07-23 真空斷路器跳閘次數多有沒有影響
- 2022-07-23 真空斷路器試驗過程中的事項
- 2022-07-23 真空斷路器原則和功能的研究范圍